Síganos
+502
3994-3031
Contáctenos
×
Tienda
0
Iniciar sesión
Contáctenos
Encuentra los repuestos de tu Motocicleta!
Categoria de Motocicleta
PLAY
SPORT
SCOOTER
TRABAJO
DOBLE PROPOSITO
CHOPPER
MOTOCROSS Y ENDURO
ALTA CILINDRADA
ATV Y ATV
Modelo
DIO 110
ELITE 125
ACTIVA 125
WAVE 110
Año
2018 - 2024
Segmento de Repuestos
TAPADERA DE VALVULAS
CULATA
EJE DE LEVAS
CADENA DE TIEMPO
CILINDRO
TAPA DE CARTER DERECHO
AUTOMATICO DELANTERO
KIT DE CLUTCH
STARTER DE CLUTCH
TAPA DE CARTER IZQUIERDO
PLANTA
MOTOR DE ARRANQUE
BOMBA DE ACEITE
CARTER CENTRAL
CIGÜEÑAL
TRANSMISION
SELECTOR DE CAMBIOS
KIT DE STARTER
CARBURADOR
SILVIN
TABLERO
RETROVISORES
MANDOS Y MANECILLAS
MANDOS Y MANECILLAS CBS/DISK
MANDOS Y MANECILLAS CBS/DRUM
BOMBA DE FRENO
BOMBA DE FRENO CBS
TIMON Y CARETA
POSTE
LODERA DELANTERA
BARRAS DELANTERAS
MORDAZA Y PASTILLAS DELANTERAS
PLATO PORTA FRICCIONES DELANTERAS
PLATO PORTA FRICCIONES DELANTERAS CBS/DRUM
ARO DELANTERO (1)
ARO DELANTERO (2)
PLATO PORTA FRICCIONES TRASERAS
ARO TRASERO
TANQUE DE GASOLINA
SILLON
PLASTICOS LATERALES DE SILLON
FILTRO DE AIRE
VALVULA DE AIRE
ESCAPE
PEDAL DE FRENO
POSAPIES
PATA CENTRAL Y LATERAL
MULETA
AMORTIGUADORES
LODERA TRASERA
PIDEVIAS DELANTEROS Y TRASEROS
STOP TRASERO
BATERIA
ARNES
CHASIS
TAPAS LATERALES FRONTALES
TAPAS LATERALES DE MOTOR
Productos
Scooter
ACTIVA 125
2020 - 2024
CARETA Y TIMON
Tarifa pública
Tarifa pública
CARETA Y TIMON
Todos los Productos
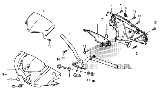
1. 53100-K24-900 TIMON
Q
134,64
134.64000000000001
GTQ
4. 53204-K24-900ZA VISOR
Q
35,50
35.5
GTQ
5. 53206-K24-G00ZA GUIA SUJETADOR DE TUBO
Q
22,21
22.21
GTQ
6. 53208-K24-900ZA TAPA DE TABLERO
Q
125,92
125.92
GTQ
7. 53250-K24-G10ZA COBERTOR DE TIMON GRIS MATE
Q
453,91
453.91
GTQ
8. 53250-K24-900ZC COBERTOR FRONTAL DE TIMON GRIS METALICO
Q
416,32
416.32
GTQ
8.1 53250-K24-920ZA PROTECTOR FRONTAL
Q
415,54
415.54
GTQ
8.2 53250-K24-920ZB COBERTOR DE TABLERO
Q
609,68
609.6800000000001
GTQ
8.3 53250-K24-920ZC PROTECTOR DE TIMON
Q
480,40
480.40000000000003
GTQ
8.4 53250-K24-920ZD PROTECTOR FRONTAL
Q
441,81
441.81
GTQ
8.5 53250-K24-G10ZA COBERTOR DE TIMON GRIS MATE
Q
441,71
441.71000000000004
GTQ
8.6 53250-K24-H00ZA COBERTOR DE SILVIN MATE
Q
410,29
410.29
GTQ
8.7 53250-K24-H00ZB COBERTOR DE SILVIN ROJO
Q
420,36
420.36
GTQ
8.8 53250-K24-H00ZC COBERTOR DE SILVIN AZUL
Q
411,67
411.67
GTQ
8.9 53250-K24-H00ZD COBERTOR DE SILVIN NEGRO
Q
406,80
406.8
GTQ
8.10 53250-K24-H00ZE COBERTOR FRONTAL DE TIMON
Q
439,67
439.67
GTQ
8.11 53250-K24-H00ZF COBERTOR DE SILIVN CAFE CLARO NHB60M
Q
288,39
288.39
GTQ
8.12 53250-K24-H00ZG COBERTOR DE SILIVN AZUL METALICO PB423M
Q
282,87
282.87
GTQ
8.13 53250-K24-H00ZH COBERTOR DE SILIVN BLANCO NHC41P
Q
288,27
288.27
GTQ
8.14 53250-K24-H00ZJ CASE DE SILVIN BEIGE MATE
Q
391,19
391.19
GTQ
1
2
¿Quieres ser distribuidor Honda?
Nombre
Número de teléfono
Correo electrónico
Describa su campo aquí.
Direccion
Asunto
Separe las direcciones de correo electrónico con una coma.
Enviar